
Delonghi Mw 500 Diode For Microwave

Microwave Oven Control Board Full Electronics Project

How To Identify Microwave Diode And Capacitor In Hindi


Rf Limiters Provide Alternative To Gaas Pin Diode Limiters

Package For Microwave Diode Platronics Seals

Microwave Test Bench For Gunn Diode Buy Microwave Test Bench Gunn Microwave Gunn Test Bench Microwave Product On Alibaba Com

Where Can You Find Buy An Rf Microwave Diode Replacement

Panasonic Microwave Oven Not Heating Hv Diode Faulty

Panasonic Microwave Oven Not Heating Hv Diode Faulty

The Importance Of Layout In Esd Suppressing Diodes

Limiters Prevent Front End Damage Microwaves Rf

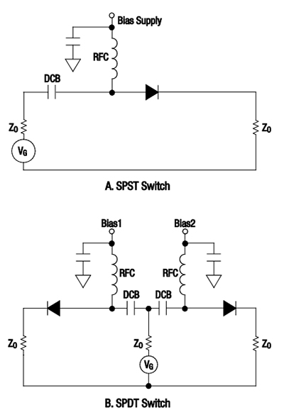
How And Why To Use Pin Diodes For Rf Switching Digikey

Low Cost Surface Mount Limiters An 1050 Keysight

Limiters Protect Adcs Without Adding Harmonics Microwaves Rf

Identifying Panasonic Microwave Diode That Connects Between
Comments
Post a Comment